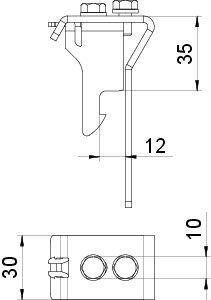
Скоба дистанционная для крышки 35х30AH 35 VA4301 OBO 6065475 — надёжное оборудование от официальных поставщиков. Поставляется с полным комплектом документов, включая паспорт изделия и сертификаты качества. Больше моделей представлено в разделе Зажим для крышки системы поддержки кабелей. При необходимости наши специалисты помогут подобрать подходящее устройство. На все товары предоставляется официальная гарантия. Заказ можно оформить на сайте, доставляем по Москве и в другие регионы России. Больше информации о товаре — по телефону +7 495 789-38-80.
ООО «Вэлтэкс» — только качественная электротехническая продукция по доступным ценам.
















